Control unit for turbo pumps from TPH /TPU 170 to TPH /TPU 1500.
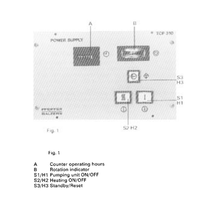
The TCP 310 has easily accessible controls arranged on the front panel. The standby function option permits the Turbo molecular Pump to be operated at 66% of its rated speed. This results an extended service life of the bearings and reduction in noise and vibration. Connections for remote control and heating and cooling are available. Computer connections for data collection are optional. An electronic drive unit is employed to drive and control the turbo pumps. It is designed for 110 to 240 volts and 50 to 60 Hz without changeover and reversing. The mains filter of the TCP suppresses interfering pulses towards the mains.
THERE ARE NO RETURNS ON THIS PRODUCT IF PRODUCT IS OPENED OR USED.


Click Here for Pfeiffer TCP 310 Manual
A&J Vacuum Services offers full repair/service of Pfeiffer Controllers, along with all other brands offered on our website. AJVS also services Pfeiffer Turbo Pumps. Please contact us for information about our service and repair program or click http://www.ajvs.com/service.php to access our services page. We also offer emergency service upon request. For more information, please email A&J Vacuum Services at info@ajvs.com or call (973) 249-0854. Thank you for choosing AJVS as your supplier.

Click Here for Pfeiffer TCP 310 Manual
A&J Vacuum Services offers full repair/service of Pfeiffer Controllers, along with all other brands offered on our website. AJVS also services Pfeiffer Turbo Pumps. Please contact us for information about our service and repair program or click http://www.ajvs.com/service.php to access our services page. We also offer emergency service upon request. For more information, please email A&J Vacuum Services at info@ajvs.com or call (973) 249-0854. Thank you for choosing AJVS as your supplier.
AJVS_Vacuum_Pump_Turbo_Pump_Service_and_Repair.pdf
AJVS_Pfeiffer_Vacuum_TCP_310_Sales_and_Repair.pdf
|
Service and Repair A & J Vacuum Services provides repair service for all types of High Vacuum equipment. We perform Turbomolecular Pump repair, Turbo Pump Repair, Dry Pump repair, Vacuum Pump repair, Mass Spectrometer repair, Rotary Vane Pump repair, Vacuum Booster repair, and Leak detector repair. Our highly trained technicians have years of experience and guarantee the highest quality service.
We operate at our own full service repair facility in Clifton, NJ. We have invested in state-of-the-art equipment including; complete line of decontamination, cleaning, drying, balancing, vibration analysis and software to minimize failures. Our in-house machine shop is capable of machining various components, prototypes and housing conversions as needed.
We support all major manufacturers including Pfeiffer Vacuum, Alcatel / Adixen, Edwards Vacuum, Varian, Oerlikon / Leybod Vacuum, Vacuubrand, and Agilent Technologies.
Repair Steps
Every pump and instrument is extensively tested for 48 hours. During our final tests, we monitor total pressure, temperature, vibration and noise level utilizing newest testing technologies and techniques specified by OEM. Upon request, we can provide our customers with a pump down graph. Call us for your free repair estimate at 1-973-249-0854.
Overview
Control unit for turbo pumps from TPH /TPU 170 to TPH /TPU 1500.
The TCP 310 has easily accessible controls arranged on the front panel. The standby function option permits the Turbo molecular Pump to be operated at 66% of its rated speed. This results an extended service life of the bearings and reduction in noise and vibration. Connections for remote control and heating and cooling are available. Computer connections for data collection are optional. An electronic drive unit is employed to drive and control the turbo pumps. It is designed for 110 to 240 volts and 50 to 60 Hz without changeover and reversing. The mains filter of the TCP suppresses interfering pulses towards the mains.
THERE ARE NO RETURNS ON THIS PRODUCT IF PRODUCT IS OPENED OR USED.


Click Here for Pfeiffer TCP 310 Manual
A&J Vacuum Services offers full repair/service of Pfeiffer Controllers, along with all other brands offered on our website. AJVS also services Pfeiffer Turbo Pumps. Please contact us for information about our service and repair program or click http://www.ajvs.com/service.php to access our services page. We also offer emergency service upon request. For more information, please email A&J Vacuum Services at info@ajvs.com or call (973) 249-0854. Thank you for choosing AJVS as your supplier.
Specifications

Click Here for Pfeiffer TCP 310 Manual
A&J Vacuum Services offers full repair/service of Pfeiffer Controllers, along with all other brands offered on our website. AJVS also services Pfeiffer Turbo Pumps. Please contact us for information about our service and repair program or click http://www.ajvs.com/service.php to access our services page. We also offer emergency service upon request. For more information, please email A&J Vacuum Services at info@ajvs.com or call (973) 249-0854. Thank you for choosing AJVS as your supplier.
Videos
Service & Repair
A & J Vacuum Services provides repair service for all types of High Vacuum equipment. We perform Turbomolecular Pump repair, Turbo Pump Repair, Dry Pump repair, Vacuum Pump repair, Mass Spectrometer repair, Rotary Vane Pump repair, Vacuum Booster repair, and Leak detector repair. Our highly trained technicians have years of experience and guarantee the highest quality service.
We operate at our own full service repair facility in Clifton, NJ. We have invested in state-of-the-art equipment including; complete line of decontamination, cleaning, drying, balancing, vibration analysis and software to minimize failures. Our in-house machine shop is capable of machining various components, prototypes and housing conversions as needed.
We support all major manufacturers including Pfeiffer Vacuum, Alcatel / Adixen, Edwards Vacuum, Varian, Oerlikon / Leybod Vacuum, Vacuubrand, and Agilent Technologies.
Repair Steps
Every pump and instrument is extensively tested for 48 hours. During our final tests, we monitor total pressure, temperature, vibration and noise level utilizing newest testing technologies and techniques specified by OEM. Upon request, we can provide our customers with a pump down graph. Call us for your free repair estimate at 1-973-249-0854.